ВТ 6

Чертеж изделия:
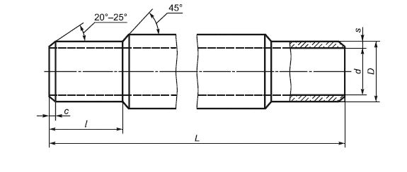
Характеристики изделия:
ПараметрЗначение
длина2950 мм
ширина168 мм
высота168 мм
масса38,05 кг
нормативный документГОСТ 31416-2009

ВТ 6   Асбоцементные напорные трубы ГОСТ 31416-2009.