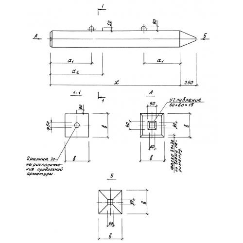
СЦп 11-30
Характеристики изделия:
| Параметр | Значение |
|---|---|
| длина | 11000 мм |
| ширина | 300 мм |
| высота | 300 мм |
| масса | 2453 кг |
| нормативный документ | Серия 1.011-6 |
Цена:
Рассчитать стоимостьСЦп 11-30 Свая квадратного сечения без поперечного армирования ствола (центральное армирование высокопрочной проволокой) (Серия 1.011-6).
