1КВ колонны

Чертеж изделия:
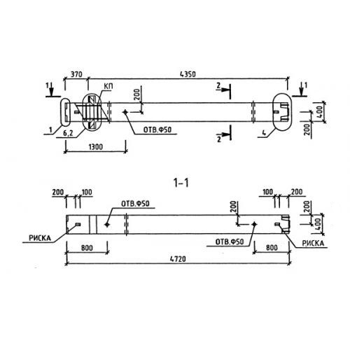
Характеристики изделия:
ПараметрЗначение
длина4720 мм
ширина400 мм
высота400 мм
масса1887,5 кг
нормативный документСерия 1.020-1/83

1КВ  Колонны Серия 1.020-1/83.