3КБО 48.48

Чертеж изделия:
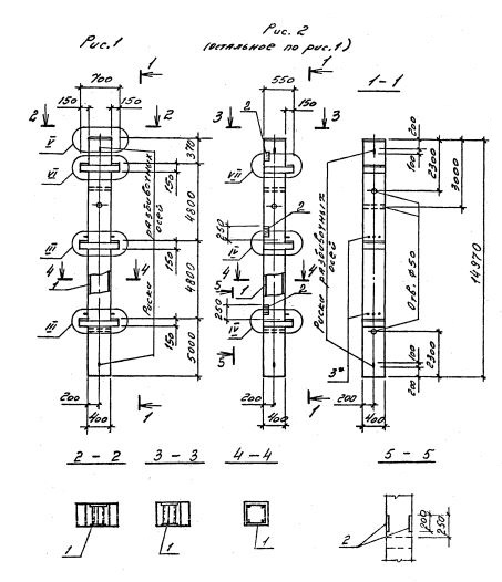
Характеристики изделия:
ПараметрЗначение
длина14970 мм
ширина400 мм
высота550 мм
масса6050 кг
нормативный документСерия 1.020.1-4

3КБО 48.48     Колонны  бесстыковые одноконсольные (Серия 1.020.1-4).

Маркировка включает высоту этажей (дм), диаметры угловых и промежуточных стержней арматуры (мм), марку бетона:

3КБО 48.48-3.25.00

3КБО 48.48-3.28.00

3КБО 48.48-3.32.00

3КБО 48.48-3.36.00

3КБО 48.48-3.40.00