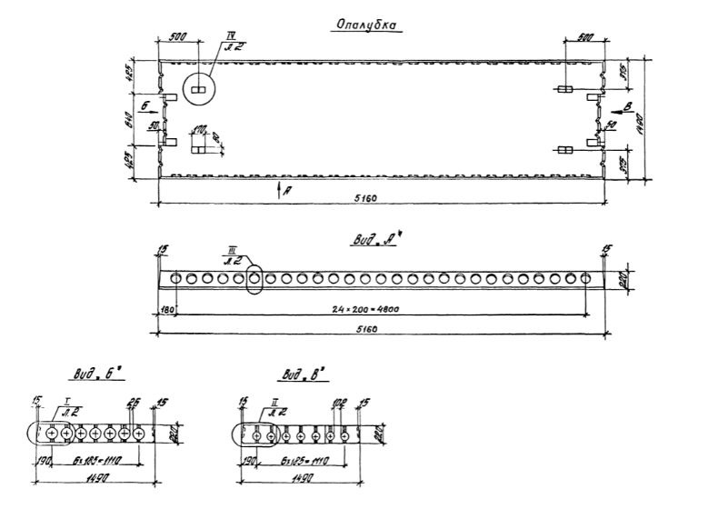
ПК 52.15 плиты связевые межколонные

Чертеж изделия:
Характеристики изделия:
ПараметрЗначение
длина5160 мм
ширина1490 мм
высота220 мм
масса1900 кг
нормативный документСерия 1.041.1-3

ПК 52.15  Плиты связевые (межколонные) Серия 1.041.1-3.