Б 40

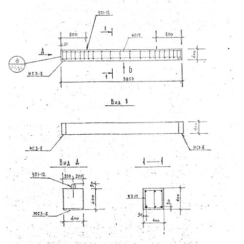
Чертеж изделия:
Характеристики изделия:
ПараметрЗначение
длина3950 мм
ширина400 мм
высота400 мм
вес1580 кг
серия1.125 КЛ-3

Б 40 Балки по серии 1.125 КЛ-3.