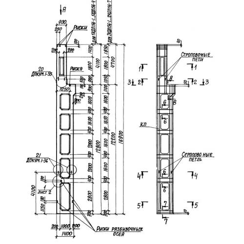
КДП 156 колонны крайние

Чертеж изделия:
Характеристики изделия:
ПараметрЗначение
длина16900 мм
ширина500 мм
высота1400 мм
масса14300 кг
нормативный документСерия 1.424.1-10

КДП 156   Двухветвевые колонны с проходом (крайние) Серия 1.424.1-10.