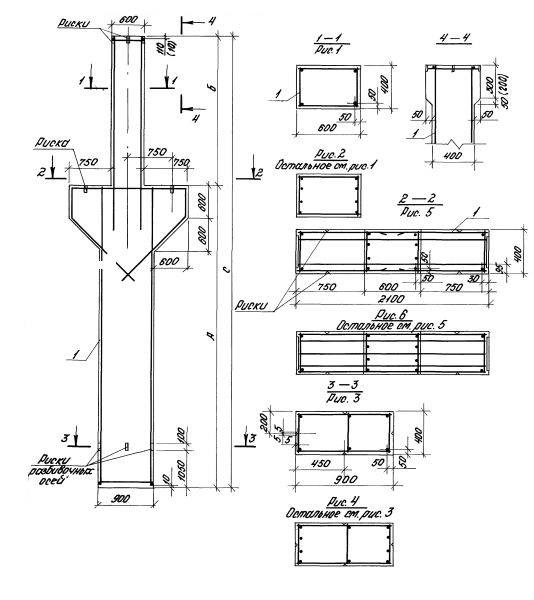
К 132

Чертеж изделия:
Характеристики изделия:
ПараметрЗначение
длина13800 мм
ширина400 мм
высота2100 мм
масса12800 кг
нормативный документСерия 1.424.1-5

К 132  Колонны средние Серия 1.424.1-5.