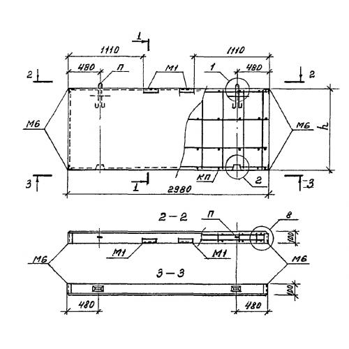
ПС 30.12.1

Чертеж изделия:
Характеристики изделия:
ПараметрЗначение
длина2980 мм
ширина100 мм
высота1185 мм
вес880 кг
серия1.432.1-34.94

ПС 30.12.1 Панели стеновые по серии 1.432.1-34.94.