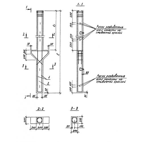
1СД 50
Характеристики изделия:
| Параметр | Значение |
|---|---|
| длина | 5000 мм |
| ширина | 600 мм |
| высота | 200 мм |
| вес | 560 кг |
| серия | 1.821.1-7 |
Цена:
Рассчитать стоимость1СД 50 Сваи-колонны по серии 1.821.1-7.
| Параметр | Значение |
|---|---|
| длина | 5000 мм |
| ширина | 600 мм |
| высота | 200 мм |
| вес | 560 кг |
| серия | 1.821.1-7 |
1СД 50 Сваи-колонны по серии 1.821.1-7.
