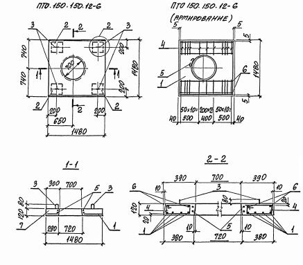
ПТО 150.150.12 плиты лотков
Характеристики изделия:
| Параметр | Значение |
|---|---|
| длина | 1480 мм |
| ширина | 1480 мм |
| высота | 120 мм |
| масса | 650 кг |
| нормативный документ | Серия 3.006.1-8 |
Цена:
Рассчитать стоимостьПТО 150.150.12 Плиты перекрытия каналов с отверстиями Серия 3.006.1-8.