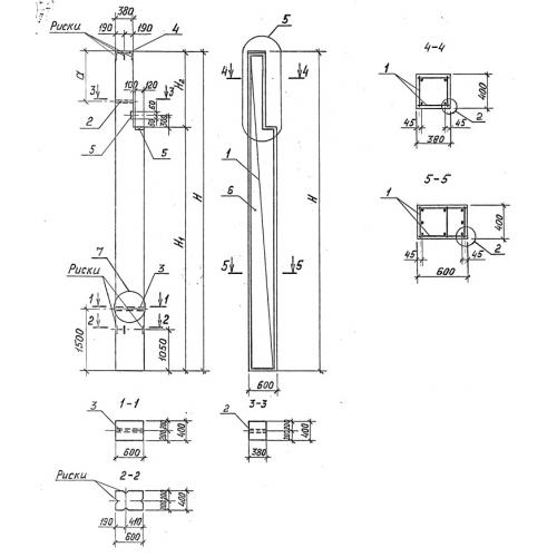
К 45 колонна сборная

Чертеж изделия:
Характеристики изделия:
ПараметрЗначение
длина9500 мм
ширина600 мм
высота600 мм
масса5100 кг
нормативный документСерия 3.015-1/92

К 45  Колонны сборные Серия 3.015-1/92.