Р

Чертеж изделия:
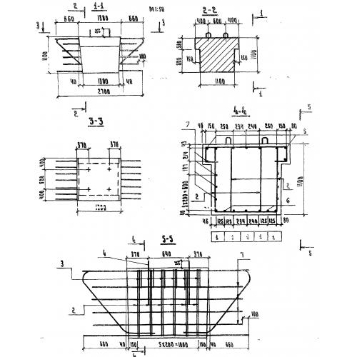
Характеристики изделия:
ПараметрЗначение
длина2700 мм
ширина1400 мм
высота1100 мм
вес4300 кг
серия3.503.1-57

Р Крайний блок ригеля для пролетных строений длиной 12, 24, 33 м по серии 3.503.1-57.