Р3

Чертеж изделия:
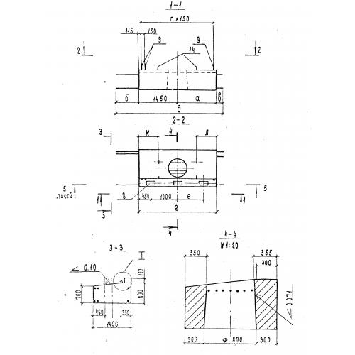
Характеристики изделия:
ПараметрЗначение
длина3850 мм
ширина1700 мм
высота700 мм
вес8000 кг
нормативный документСерия 3.503.1-95

Р3 Блоки ригеля по Серии 3.503.1-95.