1-3П 200.60.5-М

Чертеж изделия:
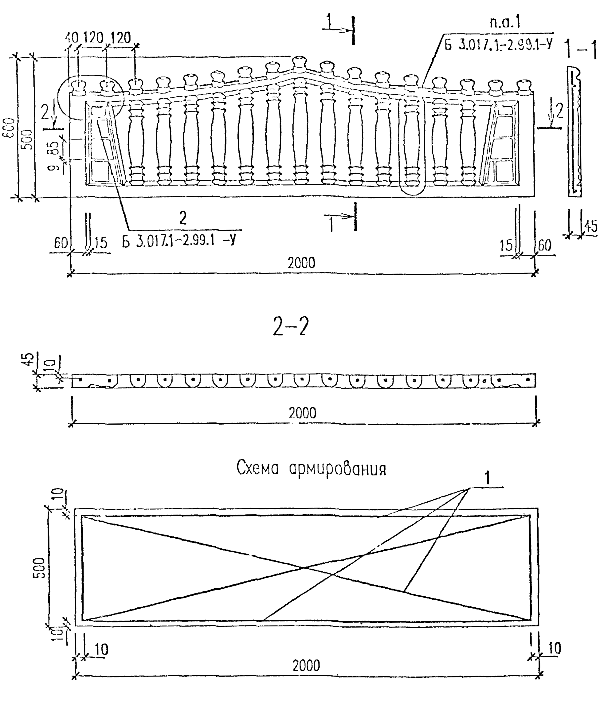
Характеристики изделия:
ПараметрЗначение
Длина L2000 мм
Ширина В45 мм
Высота Н600 мм
Вес53 кг
СерияБ3.017.1-2.99
Норма погрузки на машину (20тн)370 шт
Вагонная норма погрузки-

Панели ограды 1-3П 200.60.5-М это изделия забора, предназначенные для декоративного ограждения территорий любого назначения. Ограждения изготавливаются в соответствии с серией Б3.017.1-2.99.