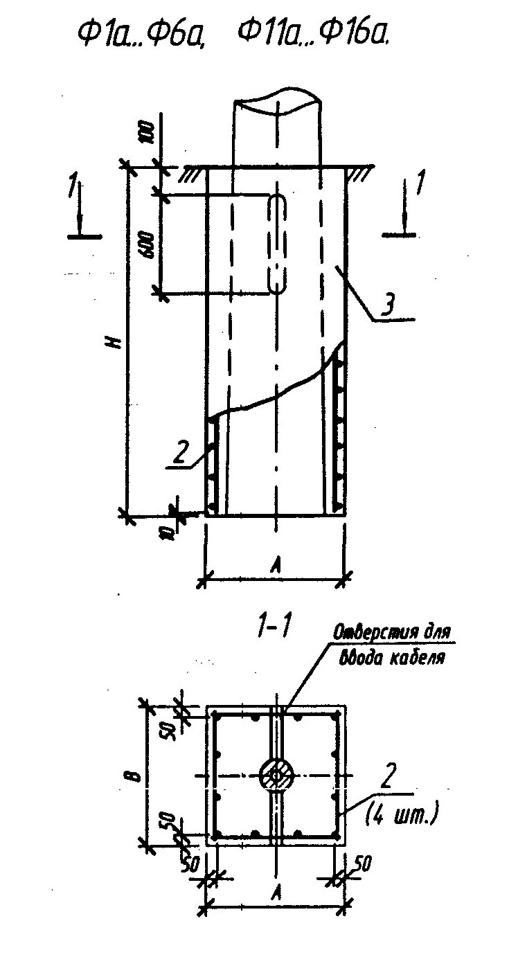
Ф 1 а

Чертеж изделия:
Характеристики изделия:
ПараметрЗначение
Высота Н2000 мм
Длина А600 мм
Ширина В600 мм
Вес1175 кг
СерияБ3.507.1-3.04
Норма погрузки на машину (20тн)17 шт
Вагонная норма погрузки-

Фундамент Ф 1а изготавливается из тяжелого бетона и предназначен для установки стоек СКЦ согласно нормам серии Б3.507.1-3.04.