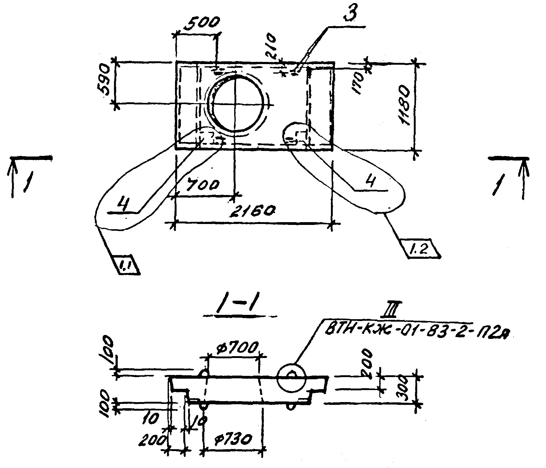
П 3Б

Чертеж изделия:
Характеристики изделия:
ПараметрЗначение
Длина L2160 мм
Ширина В1180 мм
Высота Н300 мм
Вес1480 кг
СерияВТИ-КЖ-01-83
Норма погрузки на машину (20тн)13 шт
Вагонная норма погрузки-

Плита перекрытия П 3Б является составной частью теплофикационной камеры. Данные плиты изготавливаются в соответствии с рабочими чертежами серии ВТИ-КЖ-01-83.