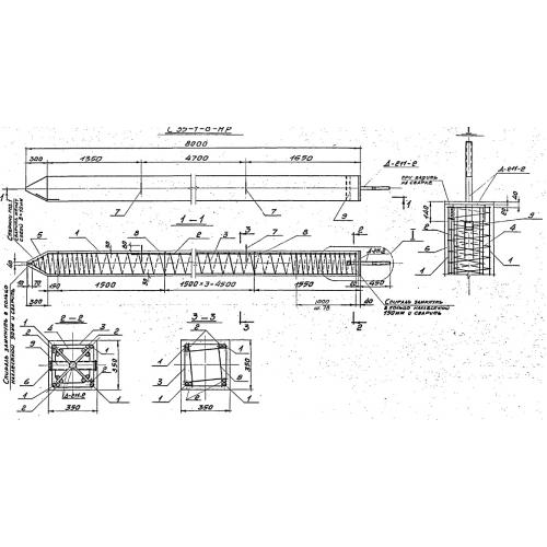
С 35-1-8
Характеристики изделия:
| Параметр | Значение |
|---|---|
| длина | 8000 мм |
| ширина | 350 мм |
| высота | 350 мм |
| вес | 2400 кг |
| серия | ТП 12614тм-т1 |
Цена:
Рассчитать стоимостьС 35-1-8 Сваи вибрированные по проекту ТП 12614тм-т1.
| Параметр | Значение |
|---|---|
| длина | 8000 мм |
| ширина | 350 мм |
| высота | 350 мм |
| вес | 2400 кг |
| серия | ТП 12614тм-т1 |
С 35-1-8 Сваи вибрированные по проекту ТП 12614тм-т1.
